


木屑顆粒機,鋸末顆粒機,秸稈顆粒機,稻殼顆粒機

經濟的快速發展離不開能源,而傳統化石能源石油、天然氣和煤炭的緊缺問題日益嚴重。生物質能作為第四大能源,以其可再生、零碳排放等特點,成為新能源中發展潛力較大的一種能源。
生物質顆粒燃料,又稱生物質成型燃料(BiomassMouldingFuel,簡稱“BMF")是應用農林廢棄物(如秸稈、鋸末、甘蔗渣、稻糠等)作為原材料,經過粉碎、混合、擠壓、烘干等工藝,制成各種成型(如顆粒狀)的,可直接燃燒的一種新型清潔燃料。
生物質木屑顆粒燃料生產設備,其以木屑為原料制備生物質木屑顆粒燃料,其生產方法過程簡單,適合產業化生產,制備的生物質木屑顆粒燃料熱值、燃燒率和熱效率高。
生物質木屑顆粒燃料生產設備,包括依次連接的鋸末粉碎機、滾筒式烘干機和擠壓成型顆粒機,在滾筒式烘干機和擠壓成型顆粒機之間設有屯料房,用于中轉木屑原料和檢測木屑原料的水分含量。木屑原料經鋸末粉碎機粉碎后,被輸送至滾筒式烘干機進行烘干以控制其水分含量,再輸送至顆粒機擠壓成型,制得生物質木屑顆粒燃料。
木屑原料的水分含量對擠壓成型的壓縮比產生較大影響,水分含量過高或過低,則難以獲得較為理想的壓縮比,從而影響生物質木屑顆粒燃料的燃燒熱值、燃燒率和熱效率。為保證木屑原料的水分含量控制良好,若太過干燥則需要加入濕度較大的木屑進行混合;若濕度太高,還需進一步干燥。
為防止屯料房中的木屑原料四處飛揚,屯料房頂部設有除塵器。
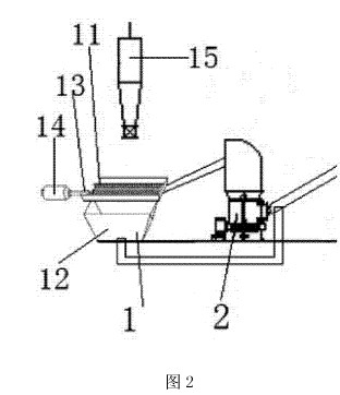
在鋸末粉碎機前設有振動篩,包括篩網和位于篩網下方的集料倉,集料倉通過輸送帶直接與鋸末粉碎機的出料口連接,分篩后篩網上的大顆木屑原料通過輸送帶輸入鋸末粉碎機的進料口。
木屑原料粉碎過程為:將混合后的木屑原料運送至振動篩,振動篩篩分出的大顆木屑原料運送至鋸末粉碎機進行粉碎,并經鋸末粉碎機的出料口流入滾筒式烘干機;振動篩分篩后,通過篩網而聚集于集料倉的木屑,其粒徑已滿足生產要求,不需要進一步粉碎,直接運送至鋸末粉碎機的出料口,與經粉碎的木屑原料一起流入滾筒式烘干機。采用振動篩對木屑進行初步篩分,并將粒徑合格的木屑直接運送至鋸末粉碎機的出料口,從而減少鋸末粉碎機的進料量,提高大顆木屑原料的粉碎質量,提高生產效率,節約能耗。
其中,篩網通過振動軸與電機連接。篩網上部設有旋風除塵器,防止篩網上的木屑顆粒四處飛揚。篩網可拆卸地安裝于集料倉上部,篩網上設有直徑為0. 05-2mm的通孔或邊長為0. 05-2mm的方型孔。生物質木屑原料的粒度直接影響到燃燒速度和鍛燒帶的厚度,為了生物質木屑顆粒燃料的燃燒熱值、熱效率,需要對木屑原料的粒徑進行嚴格的控制。篩網可拆卸地安裝,可依據不同木屑原料的粒徑控制要求進行更換篩網。
滾筒式烘干機包括供熱裝置、送料裝置、烘干裝置和除塵裝置,供熱裝置包括鍛燒爐、設于鍛燒爐底部的鼓風機和設于鍛燒爐頂部的料斗,所述料斗通過輸送帶與擠壓成型顆粒機出料口連接,用于輸入生物質木屑顆粒燃料成品作為燃料。擠壓成型顆粒機出料口的生物質木屑顆粒燃料成品,直接通過鍛燒爐頂部的料斗輸入鍛燒爐進行燃燒并供熱,一方面其因地制宜、就地取材、無需額外熱源,另一方面還可以針對性檢測生物質木屑顆粒燃料成品的燃燒熱值、燃燒率和熱效率,以便實時監控生物質木屑顆粒燃料成品的質量及其波動。
其中,送料裝置為螺旋輸送機,用于將木屑原料輸送至烘干裝置。烘干裝置為帶有抄板結構的旋轉滾筒。除塵裝置為旋風除塵器,設于滾筒式烘干機出料口的上方。
生物質木屑顆粒燃料生產設備的優點:
1、采用該生物質木屑顆粒燃料生產設備,以木屑為原料制備生物質木屑顆粒燃料,其生產方法過程簡單,適合產業化生產,制備的生物質木屑顆粒燃料熱值、燃燒率和熱效率高。
2、在滾筒式烘干機和擠壓成型顆粒機之間設有屯料房,用于中轉木屑原料和檢測木屑原料的水分含量,從而保證生物質木屑顆粒燃料熱值、燃燒率和熱效率。
3、木屑粉碎由振動篩和鋸末粉碎機兩級設備處理,振動篩分篩后粒徑合格的木屑原料直接送入滾筒式烘干機,僅將篩網上保留的大顆木屑顆粒送入鋸末粉碎機,從而減少鋸末粉碎機的進料量,提高大顆木屑原料的粉碎質量,提高生產效率,節約能耗。
4、利用鍛燒爐燃燒生物質木屑顆粒燃料成品以檢測其燃燒熱值、燃燒率和熱效率,以便實時監控生物質木屑顆粒燃料成品的質量及其波動。
圖1為生物質木屑顆粒燃料生產設備的結構示意圖:
圖2為振動篩和鋸末粉碎機連接關系結構示意圖:
滾筒式烘干機結構
圖3為滾筒式烘干機的結構示意圖:
圖中,1一振動篩,2一鋸末粉碎機,3一滾筒式烘干機,4一屯料房,5一擠壓成型顆粒機,11一篩網,12一集料倉,13一振動軸,14一電機,15一旋風除塵器,31-鍛燒爐,32一鼓風機,33一料斗,34一旋轉滾筒,35-螺旋輸送機,36一除塵器。

| 聯系我們 |
| 如果您有任何問題請聯系我們! |
| 地址:鄭州市西四環與化工路交匯處向西1千米 電話:0371-55018888 傳真:0371-55611668 |

|
河南豫暉烘干設備廠家 版權所有 豫ICP備10209222號-2 營業執照 聯系電話:0371-55018888 傳真:0371-55611668 手機:13803857310(白經理) 郵箱:hnyhjx888@163.com |
![]() |